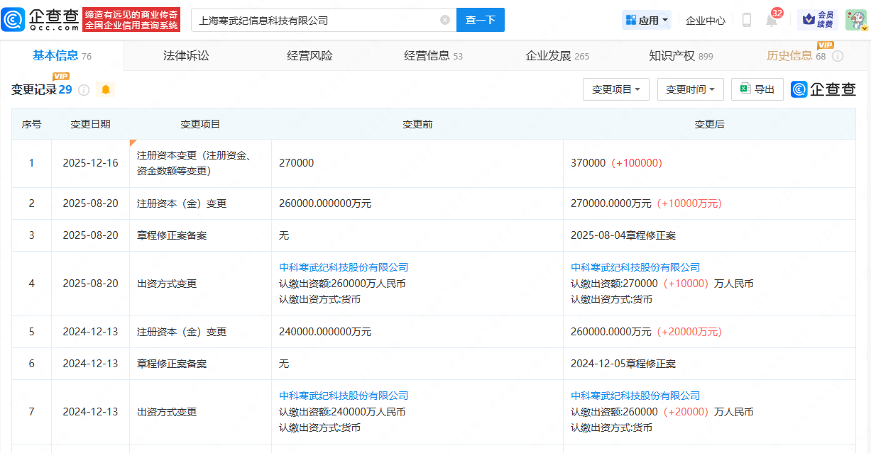
近日,上海寒武纪信息科技有限公司发生工商变更,注册资本由27亿人民币增至37亿人民币。企查查信息显示,该公司成立于2016年4月,法定代表人为王在,经营范围涉及计算机软件、计算机科技、信息技术、智能化科技领域内的技术开发、技术咨询、技术服务、技术转让等,由寒武纪(688256)全资持股。
九鼎配资提示:文章来自网络,不代表本站观点。
本文评分*
评论内容*
你的昵称*
你的邮箱*